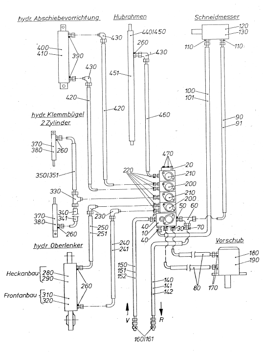
| 010
|
87000190
|
Grundsteuerblock
|
|
1 pcs
|
|
| 020
|
87000194
|
Endplatte f Grundsteuerblock
|
58,22 €
|
1 pcs
|
|
| 030
|
87000459
|
Einschraubstutzen gerade
|
0,8 €
|
2 pcs
|
|
| 040
|
87000454
|
Einschraubstutzen gerade
|
1,99 €
|
2 pcs
|
|
| 050
|
87000489
|
Einschraubstutzen m Schaft gerade
|
4,88 €
|
1 pcs
|
|
| 060
|
87000455
|
Winkel-Verschraubung m Schaft
|
9,74 €
|
1 pcs
|
|
| 070
|
87000302
|
Hydraulik-Ventil
|
34,43 €
|
1 pcs
|
|
| 080
|
87000859
|
Hydraulik-Schlauch
|
27,6 €
|
2 pcs
|
|
| 090
|
87000935
|
Hydraulik-Schlauch
|
66,8 €
|
1 pcs
|
|
| 091
|
87000929
|
Hydraulik-Schlauch
|
70,54 €
|
1 pcs
|
|
| 100
|
87000929
|
Hydraulik-Schlauch
|
70,54 €
|
1 pcs
|
|
| 101
|
87000833
|
Hydraulik-Schlauch
|
61,07 €
|
1 pcs
|
|